
High-pressure Power Station Gate Valve produced by Lianggong Valve Group Co., Ltd. Manual, butt welding connection type, single lever wedge rigid single-disc, the seat sealing surface material is cemented carbide, nominal pressure PN250 ~ PN320, valve body material is carbon steel high temperature and high pressure power station gate valve.
Product Usage
Z61Y-250, Z61Y-320 High-pressure Power Station Gate Valve produced by Lianggong Valve Group Co., Ltd. Manual, butt welding connection type, single lever wedge rigid single-disc, the seat sealing surface material is cemented carbide, nominal pressure PN250 ~ PN320, valve body material is carbon steel high temperature and high pressure power station gate valve.
Structural features
High temperature gate valve, also known as power station valve, is mainly used in the pipelines of various systems of thermal power stations to cut off or connect the pipeline medium. Applicable medium: non-corrosive medium such as water and steam. Compared with other valve products, power station valves are characterized by high temperature and high pressure, and a unique self-sealing design. The higher the pressure, the more reliable sealing. Due to the performance and technical characteristics, the special working conditions make the product form a feature that can not be replaced by other products.
1. No friction when opening and closing. This function completely solves the problem that the traditional valve affects the sealing surface due to the friction between the sealing surfaces.
2. Top-mounted structure. The valve installed on the pipeline can be directly inspected and repaired online, which can effectively reduce the stopping of the device and reduce the cost.
3. Single seat valve design. Eliminating the problem that the medium in the valve cavity is affected by the abnormal pressure increase and affects the safety of use.
4. Low torque design. The valve stem with special structure design can be easily opened and closed with only a small handle.
5. Wedge seal structure. The valves is sealed by the mechanical force provided by the valve stem, pressing the wedge against the valve seat, so that the valve's tightness is not affected by the change in pipeline pressure difference, and the sealing performance is reliably guaranteed under various working conditions.
6. Self-cleaning structure of the sealing surface. When the gate is tilted away from the valve seat, the fluid in the pipeline passes through 360 degrees uniformly along the sealing surface of the gate, which not only eliminates the local erosion of the valve seat by the high-speed fluid, but also rushes away the accumulation on the sealing surface to achieve the purpose of self-cleaning.
Design standards
Design Standard: GB / T 12234-2007
Structure length GB / T 12221-2005
Butt welding connection size NB / T 4704-2014
Test and Inspection NB / T 4704-2014
Pressure - Temperature: NB / T 4704-2014
Performance parameters
|
model |
PN |
Work pressure/MPa |
proper temperature/℃ |
Suitable media |
Body |
|
Z61Y-250 |
250 |
25 |
≤570 |
steam |
WC9 |
|
Z61Y-320 |
320 |
32 |
≤570 |
steam |
WC9 |
The main part material
|
model |
material |
||||
|
Body |
Valve plate |
cap |
Stem mother |
filler |
|
|
Z61Y-250 |
WC9 |
WC9 |
WC9 |
38CrMoA1A |
Flexible graphite |
|
Z61Y-320 |
WC9 |
WC9 |
WC9 |
38CrMoA1A |
Flexible graphite |
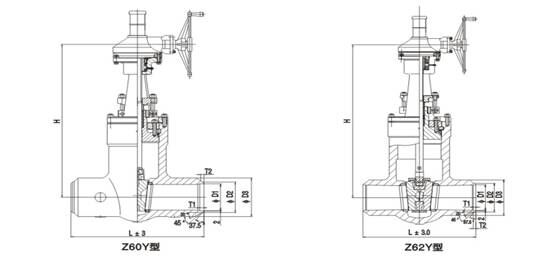
The main shape and connection dimensions
|
DN |
L |
D |
H |
D0 |
weight/Kg |
|
50 |
280 |
82 |
585 |
300 |
42 |
|
65 |
340 |
110 |
650 |
320 |
53 |
|
80 |
475 |
130 |
680 |
400 |
130 |
|
100 |
500 |
170 |
755 |
450 |
180 |
|
125 |
600 |
195 |
830 |
500 |
190 |
|
150 |
700 |
225 |
1050 |
550 |
320 |
|
175 |
750 |
255 |
1050 |
600 |
400 |
|
200 |
800 |
285 |
1050 |
650 |
550 |
|
225 |
850 |
300 |
1100 |
700 |
600 |
Structure picture
All text, data and pictures in this article are for reference only. If you need to see more product performance, structure size, price and other details. Please contact us.
If you have any enquiry about quotation or cooperation,please feel free to email us at info@cnlg-valve.com or use the following enquiry form. Our sales representative will contact you within 24 hours. Thank you for your interest in our products.