
The cast steel flanged gate valve produced by Lianggong Valve Group Co., Ltd is widely used in petrochemical, thermal power plant and other oil products, water vapor pipelines to open or close the medium in the pipeline.
Product Usage
The cast steel flanged gate valve produced by Lianggong Valve Group Co., Ltd is widely used in petrochemical, thermal power plant and other oil products, water vapor pipelines to open or close the medium in the pipeline.
Features
1. Compact structure, reasonable design, good valve rigidity, smooth passage, small flow coefficient
2. The sealing surface is made of stainless steel and carbide, with long life
3. Flexible graphite packing, reliable sealing, light and flexible operation
4. The driving mode is manual, pneumatic, electric, gear drive.
5. The structure is elastic wedge single gate, rigid wedge single gate and double gate.
Executive Standard
Design specifications: GB / T 12234
Structure length: GB / T 12221
Connecting flange: JB / T 79.1
Test and inspection: JB / T 9092
Pressure - Temperature: GB / T 9131
Product Identification: GB / T 12220
Performance parameters
|
Nominal pressurePN(MPa) |
case |
test pressure(MPa) |
Sealed |
|
|
Sealed (liquid) |
Seal (gas) |
|||
|
1.6 |
2.4 |
1.8 |
0.6 |
1.8 |
|
2.5 |
3.8 |
2.8 |
0.6 |
2.8 |
|
4.0 |
6.0 |
4.4 |
0.6 |
4.4 |
|
6.4 |
9.6 |
7.0 |
0.6 |
7.0 |
|
10.0 |
15.0 |
11.0 |
0.6 |
11.0 |
|
16.0 |
24.0 |
18.0 |
0.6 |
18.0 |
Suitable medium and applicable temperature
|
Shell material |
Suitable media |
Applicable temperature (℃) |
|
Carbon steel (C type) |
Water, steam, oil |
≤425 |
|
Chromium nickel titanium steel (P type) |
Nitric acids |
≤200 |
|
Chrome nickel molybdenum titanium steel (R type) |
Acetic acid |
≤200 |
|
Chrome-molybdenum steel (type I) |
Water, steam, oil |
≤550 |
The main part material
|
Body, bonnet |
Valve plate, seat |
Valve stem |
Stem nut |
filler |
Handwheel |
|
Carbon steel |
High-quality carbon steel + carbide or stainless steel |
Chrome stainless steel |
Aluminum bronze |
Graphite asbestos packing |
Malleable iron |
|
Chromium nickel titanium steel |
Stainless steel, stainless steel + cemented carbide |
Chrome nickel-titanium stainless steel |
Aluminum bronze |
Teflon |
Malleable iron |
|
Chromium nickel molybdenum titanium steel |
Stainless steel, stainless steel + cemented carbide |
Chrome nickel-titanium stainless steel |
Aluminum bronze |
Teflon |
Malleable iron |
|
Chrome-molybdenum steel |
Alloy steel + Carbide |
Chrome-molybdenum steel |
Aluminum bronze |
Flexible asbestos |
Malleable iron |
|
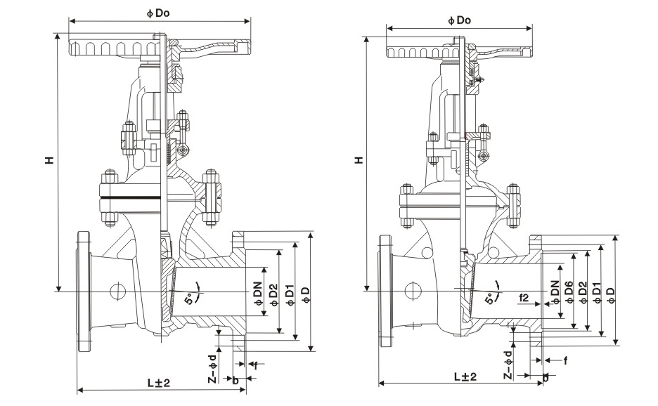
Nominal diameter |
The main dimensions and connection dimensions |
|||||||
|
L |
D |
D1 |
D2 |
b |
Z-d |
H |
D0 |
|
|
Z41H-16C |
||||||||
|
15 |
130 |
95 |
65 |
45 |
14-2 |
4-Φ14 |
170 |
120 |
|
20 |
150 |
105 |
75 |
55 |
14-2 |
4-Φ14 |
190 |
140 |
|
25 |
160 |
115 |
85 |
65 |
14-2 |
4-Φ14 |
205 |
160 |
|
32 |
180 |
135 |
100 |
78 |
16-2 |
4-Φ18 |
270 |
180 |
|
40 |
200 |
145 |
110 |
85 |
16-3 |
4-Φ18 |
310 |
200 |
|
50 |
250 |
160 |
125 |
100 |
16-3 |
4-Φ18 |
358 |
240 |
|
65 |
265 |
180 |
145 |
120 |
18-3 |
4-Φ18 |
373 |
240 |
|
80 |
280 |
195 |
160 |
135 |
20-3 |
8-Φ18 |
435 |
280 |
|
100 |
300 |
215 |
180 |
155 |
20-3 |
8-Φ18 |
500 |
300 |
|
125 |
325 |
245 |
210 |
185 |
22-3 |
8-Φ18 |
614 |
320 |
|
150 |
350 |
280 |
240 |
210 |
24-3 |
8-Φ23 |
674 |
360 |
|
200 |
400 |
335 |
295 |
265 |
26-3 |
12-Φ23 |
811 |
400 |
|
250 |
450 |
405 |
355 |
320 |
30-3 |
12-Φ25 |
969 |
450 |
|
300 |
500 |
460 |
410 |
375 |
30-3 |
12-Φ25 |
1145 |
580 |
|
350 |
550 |
520 |
470 |
435 |
34-4 |
16-Φ25 |
1280 |
640 |
|
400 |
600 |
580 |
525 |
485 |
36-4 |
16-Φ30 |
1452 |
640 |
|
Z41H-25 |
||||||||
|
15 |
130 |
95 |
65 |
45 |
16-2 |
4-Φ14 |
170 |
120 |
|
20 |
150 |
105 |
75 |
55 |
16-2 |
4-Φ14 |
190 |
140 |
|
25 |
160 |
115 |
85 |
65 |
16-2 |
4-Φ14 |
205 |
160 |
|
32 |
180 |
135 |
100 |
78 |
18-2 |
4-Φ18 |
270 |
180 |
|
40 |
200 |
145 |
110 |
85 |
18-3 |
4-Φ18 |
310 |
200 |
|
50 |
250 |
160 |
125 |
100 |
20-3 |
4-Φ18 |
358 |
240 |
|
65 |
265 |
180 |
145 |
120 |
22-3 |
8-Φ18 |
373 |
240 |
|
80 |
280 |
195 |
160 |
135 |
22-3 |
8-Φ18 |
435 |
280 |
|
100 |
300 |
230 |
190 |
160 |
24-3 |
8-Φ23 |
500 |
300 |
|
125 |
325 |
270 |
220 |
188 |
28-3 |
8-Φ25 |
614 |
320 |
|
150 |
350 |
300 |
250 |
218 |
30-3 |
8-Φ25 |
674 |
360 |
|
200 |
400 |
360 |
310 |
278 |
34-3 |
12-Φ25 |
811 |
400 |
|
250 |
450 |
425 |
370 |
332 |
36-3 |
12-Φ30 |
969 |
450 |
|
300 |
500 |
485 |
430 |
390 |
40-4 |
16-Φ30 |
1145 |
580 |
|
350 |
550 |
550 |
490 |
448 |
44-4 |
16-Φ34 |
1280 |
640 |
|
400 |
600 |
610 |
550 |
505 |
48-4 |
16-Φ34 |
1452 |
640 |
Structure picture
If you have any enquiry about quotation or cooperation,please feel free to email us at info@cnlg-valve.com or use the following enquiry form. Our sales representative will contact you within 24 hours. Thank you for your interest in our products.